Site Navigation
Sandbox 2 (sb2.cosmos-lab.org)
COSMOS sandbox 2, located at Columbia University in New York City, NY, is designed as a mini version representative of the current and future capabilities of the larger outdoor deployment in New York City. It is meant primarily to be a development and testing environment for researchers to become familiar with the software and hardware architectures available in COSMOS.
|
| Block diagram of COSMOS sandbox 2 |
The experimentation focus of this sandbox is (in addition to the standard sub-6 GHz SDR) on full-duplex and mmWave (28 GHz).
IP Address Assignment
| Device | Control Network | Data Network 1 | Data Network 2 |
| Core Servers | |||
|---|---|---|---|
| Server 1 | 10.116.1.1 (srv1-lg1) | 10.117.1.1 (srv1a-lg1) | 10.118.1.1 (srv1b-lg1) |
| Server 2 | 10.116.1.2 (srv2-lg1) | 10.117.1.2 (srv2a-lg1) | 10.118.1.2 (srv2b-lg1) |
| Large Node | |||
| USRP N310 (S1) | 10.116.2.1 (sdr1-s1-lg1) | 10.117.2.1 (sdr1a-s1-lg1) | 10.118.2.1 (sdr1b-s1-lg1) |
| USRP 2974 (S1) | 10.116.2.2 (sdr2-s1-lg1) | 10.117.2.2 (sdr2a-s1-lg1) | 10.118.2.2 (sdr2b-s1-lg1) |
| Medium Node | |||
| USRP N310 | 10.116.3.1 (sdr1-md1) | 10.117.3.1 (sdr1a-md1) | 10.118.3.1 (sdr1b-md1) |
| USRP 2974 | 10.116.3.2 (sdr2-md1) | 10.117.3.2 (sdr2a-md1) | 10.118.3.2 (sdr2b-md1) |
| RFSoC ZCU111 | |||
| RFSoC #1 | 10.116.4.1 (rfdev1-1) | N/A | N/A |
| RFSoC #2 | 10.116.4.2 (rfdev1-2) | N/A | N/A |
| IBM PAAMs | |||
| PAAM #1 | 10.116.5.1 (rfdev2-1) | N/A | N/A |
| PAAM #2 | 10.116.5.2 (rfdev2-2) | N/A | N/A |
Current RF Frontend COnfiguration (November 2019)
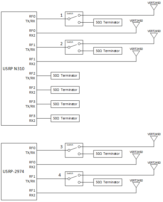
Due to it's indoor deployment and its designated use being for development of future COSMOS capabilities, SB2 does not have the same RF frontend as the main testbed (ie. no amplification or filtering). Instead, only a set of RF switches is connected to most of the SDR's ports to give the experimenter the ability to connect to different future RF frontends or devices.
|
| Block diagram of a pair of SDRs (sdr1, sdr2) and their respective RF switch connections |
The configuration of the RF switches can be controlled via the rf_switch service's HTTP API. Use the following table as a reference for service parameters.
| RF Switch Name | SB2 nodes it is connected to |
|---|---|
| rfsw-s1-lg1.sb2.cosmos-lab.org | sdr1-s1-lg1 sdr2-s1-lg1 |
| rfsw-md1.sb2.cosmos-lab.org | sdr1-md1 sdr2-md1 |
Attachments (2)
- sb2_block_diagram.png (19.6 KB ) - added by 6 years ago.
-
SB2-BD.png
(267.5 KB
) - added by 6 years ago.
Sandbox 2 Block Diagram
Download all attachments as: .zip


